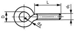
Schroefogen messing