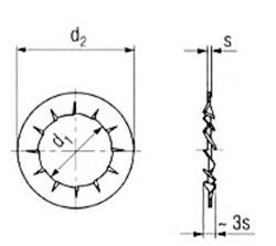
Tandveerringen Din 6798J ELVZ