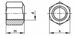
Zeskant moeren hoog Din 6330B RVS