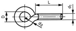
Schroefogen en schroefhaken