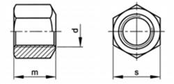
Hexagon nuts, D 6330B zinc plated