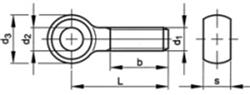
Eye bolts, D 444 4.6 B zinc plated